Smart Multi-Jet Water Meter: NB-IoT, LoRa, M-Bus Enabled

Remote controlled water meters
1- The internal clock be calibrated by the upper computer.
2- Data be stored for more than 10 years after power failure
3- Battery voltage reported periodically
4- The meter reading period be set to report the meter data regularly.
After the benchmark water price and tiered water price based on the user category settled, the management software on the server settles the water charge according to the data reported by the water meter. Pre-paid / post-paid available.
5- Available for real-time/timing remote valve control.
6- Optional remote controlled water meters.
|
* NB-IOT |
* LORA |
* M- BUS |
|
- Frequency band: 800MHz~900 MHz.
- Low-power design, built-in 3.6V lithium battery service life ≥6 years
- Meter data be received and sent to the operator's cloud by the wireless transmission module through the NB-IOT channel.
The management software on server remote monitors the meters and settles the water bill based on the data extracted from the operator's cloud. |
- Frequency band: 470MHz~510 MHz
- Low-power design, built-in 3.6V lithium battery service life ≥6 years
- The concentrator communicates with the meters through Lora to receive data from meter, and sends data back to server by 4G/ Internet.
- Water meter parameters can be set and modified by the hand holder by operator. |
- Communication Rate: 1200bps/2400bps/4800bps
- The concentrator communicates with the meters to receive data from meter, and sends data back to server by 4G/ Internet.
- The working voltage: DC24V powered by the bus; Built-in backup power DC3.6V, static current < 25μA. |
Mechanical characteristics & Parameters
1- Built-in patent ball valve, high temperature resistance, low power consumption, small pressure loss
2- IP68 waterproof
| Dia. | DN15 | DN20 | DN25 | |
| Q3 | 2.5 | 4.0 | 4.0 | |
| Range rate | Q3/Q1=125, 100, 80, 63, 50 |
|||
| Accuracy class | Class 2 | |||
| Max reading | 99999.9999m3 | |||
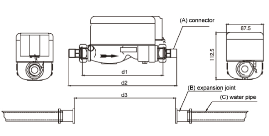
| D1 | 190 | 195 | 225 | |
| D2 | 258 | 299 | 345 | |
| D3 | 238 | 279 | 325 | |
| A | 1/2″ | 3/4″ | 1″ | |
| B | 1/2″ | 3/4″ | 1″ | |
| C | 1/2″ | 3/4″ | 1″ | |
|
* Temperature: T30 / T90 * Pressure: MAP10 * Pressure loss: Ap63
* Upstream flow sensitivity level: U10 * Downstream flow sensitivity level: D5 * Climatic and mechanical environment grade: B * Electromagnetic environment level: El
* Unable to measure reverse flow * Applicable water: pure tap water without impurities |
![]()
* Dry type multi-jet cold/hot water meter Horizontal installation |
|||

